CONTACT US
浙江定典自控阀门有限公司
电话:0577-67159885
手机:13605872654
联系人:凌工
邮箱:544216003@qq.com
地 址:浙江省温州市永嘉县瓯北街道浦一村张宅巷22号(后间)

详细介绍
HCN低噪音笼式调节阀 可以降低可压缩流体的噪音,为适应气体节流扩散与膨胀,套筒上设有许多对称小孔来降低压力降。阀芯采用压力平衡式结构。流体通道呈S流线型,还设有一个改善套筒周围流体平衡流动的导流翼,使其压降损失小,流量大,噪音低。调节阀的泄漏量符合ANSI B16.104标准。调节阀配用多弹簧薄膜执行机构,其结构紧凑,输出力大产品符合GB/T4213-92。
阀 体
型式:直通铸造球型阀
公称通径:40、50、65、80、100、150、200mm
公称压力:ANSI 125、150、300、600 JIS 10、16、20、30、40K
PN1.6、4.0、6.4MPa
连接型式:法兰连接:FF、RF、RJ、LG、沟槽型、嵌入型
法兰标准:JIS B2201-1984、ANSI B16.5-1981、GB/T9112~9124-2000等
焊接连接:嵌接焊SW(40~50mm)对接焊BW(65~200mm)
材料:铸钢(ZG230-450)、铸不锈钢(ZG1Cr18Ni9Ti、ZG1Cr18Ni12Mo2Ti、ZG00Cr18Ni12Mo2Ti)、钛等
上阀盖:常温型(P):-17~+230℃
伸长Ⅰ型(E1):-45~-17℃ +230~+566℃
伸长Ⅱ型(E2I):-100~-45℃
伸长Ⅱ型(E2W):-196~-100℃
注:工作温度不准超过各种材料的允许范围。
压盖型式:螺栓压紧式
填料:V型聚四氟乙烯填料、含浸聚四氟乙烯石棉填料、石棉编织填料、石墨填料
阀内组件
阀芯型式:金属阀座的压力平衡式阀芯
流量特性:线性(L),参考下图
注:整体式和分离式套筒应根据公称通径、材料和工作温度而定。
材料:不锈钢(Cr18Ni9Ti、1Cr18Ni2Mo2Ti、17-4PH、9Cr18、316L)不锈钢堆焊司太莱合金、钛和耐腐蚀合金等
|
公称通径
|
40
|
50
|
65
|
80
|
100
|
150
|
200
|
||||||||||||||
|
阀座直径
|
25
|
32
|
40
|
32
|
40
|
50
|
40
|
50
|
65
|
50
|
65
|
80
|
65
|
80
|
100
|
100
|
125
|
150
|
125
|
150
|
200
|
|
额定Cv值
|
11
|
17
|
24
|
17
|
24
|
44
|
24
|
44
|
68
|
44
|
68
|
99
|
68
|
99
|
175
|
175
|
275
|
360
|
275
|
360
|
640
|
|
额定行程
|
25
|
38
|
50
|
75
|
|||||||||||||||||
流量特性
典型的流量特性曲线
|
|
|
线性流量特性曲线
|
司钛莱堆焊的工作温度和压差范围
|
|
|
||||||||||||||||||||||||||||||||||||||||||||||||||||||||||||||||||||||||||||||||||||||||||||||||||||||||||||||||||||||||||||||||||||||||||||||||||||||||||||||||
|
|
||||||||||||||||||||||||||||||||||||||||||||||||||||||||||||||||||||||||||||||||||||||||||||||||||||||||||||||||||||||||||||||||||||||||||||||||||||||||||||||||||||||||||||
|
|
|||||
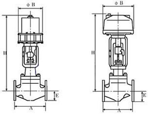
法兰距及外形尺寸
|
||||||
|
公称通径
|
A
|
|||||||
|
ANSI 125 FF
ANSI 150 RF JIS 10K FF RF PN1.6 |
JIS 16K RF
|
ANSI 300 RF
JIS 20K RF JIS 30K RF PN4.0 |
ANSI 600RF
JIS 40K RF PN6.4 |
JIS 16K
沟槽型 嵌入型 |
JIS 20
沟槽型 嵌入型 |
JIS 30K
沟槽型 嵌入型 |
JIS 40K
沟槽型 嵌入型 |
|
|
40
|
222
|
231
|
235
|
251
|
235
|
236
|
248
|
251
|
|
50
|
254
|
263
|
267
|
286
|
265
|
267
|
276
|
286
|
|
65
|
276
|
288
|
292
|
311
|
290
|
292
|
303
|
311
|
|
80
|
298
|
313
|
317
|
337
|
310
|
317
|
326
|
337
|
|
100
|
352
|
364
|
368
|
394
|
360
|
368
|
379
|
394
|
|
150
|
451
|
465
|
473
|
508
|
475
|
473
|
486
|
508
|
|
200
|
543
|
560
|
568
|
610
|
570
|
568
|
580
|
610
|
|
公称通径
|
A
|
||||||
|
ANSI 150
RJ |
ANSI 300
RJ |
ANSI 600
RJ |
ANSI 300
LG |
ANSI 600 LG
|
ANSI 150
SW、BW |
ANSI 150、600
SW、BW |
|
|
40
|
235
|
248
|
251
|
244
|
248
|
251
|
251
|
|
50
|
267
|
283
|
289
|
276
|
283
|
286
|
286
|
|
65
|
289
|
308
|
314
|
302
|
308
|
311
|
311
|
|
80
|
311
|
333
|
340
|
327
|
333
|
337
|
337
|
|
100
|
365
|
384
|
397
|
378
|
391
|
394
|
394
|
|
150
|
464
|
489
|
511
|
483
|
505
|
473
|
508
|
|
200
|
556
|
584
|
613
|
578
|
606
|
568
|
610
|
|
公称通径
|
执行机构
|
H
|
C
|
φB
|
E
|
|||
|
常温型(P)
|
伸长Ⅰ型(E1)
|
伸长Ⅱ型(E2I)
|
伸长Ⅱ型(E2W)
|
|||||
|
40
|
LHA1D、R
|
425
|
590
|
705
|
945
|
230
|
218
|
70
|
|
LHA2D、R
|
500
|
665
|
780
|
1020
|
281
|
267
|
||
|
LHA3D、R
|
590
|
760
|
875
|
1140
|
363
|
350
|
||
|
50
|
LHA1D、R
|
425
|
595
|
710
|
950
|
230
|
218
|
80
|
|
LHA2D、R
|
500
|
670
|
785
|
1025
|
281
|
267
|
||
|
LHA3D、R
|
595
|
765
|
875
|
1140
|
363
|
350
|
||
|
65
|
LHA2D、R
|
575
|
745/755
|
880
|
1130
|
281
|
267
|
88
|
|
LHA3D、R
|
630
|
800/810
|
930
|
1180
|
363
|
350
|
||
|
LHA4D、R
|
865
|
1035/1045
|
1165
|
1495
|
520
|
470
|
||
|
80
|
LHA2D、R
|
580
|
755/765
|
900
|
1135
|
281
|
267
|
98
|
|
LHA3D、R
|
635
|
810/820
|
955
|
1190
|
363
|
350
|
||
|
LHA4D、R
|
870
|
1045/1055
|
1190
|
1505
|
520
|
470
|
||
|
100
|
LHA2D、R
|
610
|
810/870
|
915
|
1150
|
281
|
267
|
113
|
|
LHA3D、R
|
660
|
860/870
|
1020
|
1205
|
363
|
350
|
||
|
LHA4D、R
|
890
|
1100/1110
|
1255
|
1520
|
520
|
470
|
||
|
LVA5R
|
1420
|
1635
|
1820
|
2050
|
-
|
620
|
||
|
LVA6R
|
1160
|
1375
|
1560
|
1790
|
-
|
445
|
||
|
150
|
LHA3D、R
|
785
|
1020/1045
|
1250
|
1385
|
363
|
350
|
170
|
|
LHA4D、R
|
955
|
1190/1215
|
1425
|
1570
|
520
|
470
|
||
|
LVA5R
|
1480
|
1740
|
1980
|
2110
|
-
|
620
|
||
|
LVA6R
|
1220
|
1480
|
1720
|
1850
|
-
|
445
|
||
|
200
|
LHA4D、R
|
1090
|
1350
|
1580
|
1710
|
520
|
470
|
220
|
|
LVA5R
|
1585
|
1850
|
2145
|
2275
|
-
|
620
|
||
|
公称通径
|
执行机构
|
法兰连接
|
焊接连接
|
||||||
|
ANSI 150
JIS 10K |
ANSI 30
JIS 16、20、30K |
ANSI 600
JIS 40K |
ANSI 150、300、600
JIS 10、16、20、30K |
||||||
|
普通型
(P) |
伸长Ⅰ型
(E1) |
普通型
(P) |
伸长Ⅰ型
(E1) |
普通型
(P) |
伸长Ⅰ型
(E1) |
普通型
(P) |
伸长Ⅰ型
(E1) |
||
|
40
|
LHA2D、R
|
31
|
34
|
36
|
39
|
44
|
47
|
36
|
39
|
|
LHA3D、R
|
43
|
46
|
48
|
51
|
56
|
59
|
48
|
51
|
|
|
50
|
LHA2D、R
|
37
|
40
|
42
|
45
|
47
|
50
|
42
|
45
|
|
LHA3D、R
|
49
|
52
|
54
|
57
|
59
|
62
|
54
|
57
|
|
|
65
|
LHA2D、R
|
43
|
47
|
48
|
52
|
65
|
69
|
48
|
52
|
|
LHA3D、R
|
55
|
59
|
60
|
64
|
77
|
81
|
60
|
64
|
|
|
LHA4D、R
|
86
|
90
|
91
|
95
|
108
|
112
|
91
|
95
|
|
|
80
|
LHA2D、R
|
53
|
59
|
63
|
69
|
85
|
91
|
63
|
69
|
|
LHA3D、R
|
65
|
71
|
75
|
81
|
97
|
103
|
75
|
81
|
|
|
LHA4D、R
|
96
|
102
|
106
|
112
|
128
|
134
|
106
|
112
|
|
|
100
|
LHA2D、R
|
63
|
73
|
78
|
88
|
113
|
123
|
75
|
85
|
|
LHA3D、R
|
75
|
85
|
90
|
100
|
125
|
135
|
87
|
97
|
|
|
LHA4D、R
|
106
|
116
|
121
|
131
|
156
|
166
|
118
|
128
|
|
|
LVA5R
|
233
|
234
|
248
|
258
|
283
|
293
|
245
|
255
|
|
|
LVA6R
|
248
|
258
|
263
|
273
|
298
|
308
|
260
|
270
|
|
|
150
|
LHA3D、R
|
157
|
172
|
187
|
202
|
237
|
252
|
177
|
192
|
|
LHA4D、R
|
188
|
203
|
218
|
233
|
268
|
283
|
208
|
233
|
|
|
LHA5D、R
|
315
|
330
|
345
|
360
|
395
|
410
|
335
|
350
|
|
|
LVA6R
|
330
|
345
|
360
|
375
|
410
|
425
|
350
|
365
|
|
|
200
|
LHA4D、R
|
268
|
1288
|
318
|
338
|
438
|
458
|
308
|
328
|
|
LVA5R
|
395
|
415
|
445
|
465
|
565
|
585
|
435
|
455
|
|
浙江定典自控阀门有限公司
地址:浙江省温州市永嘉县瓯北街道浦一村张宅巷22号(后间)
电话:0577-67159885
手机:13605872654(凌工) 18958788552(张工)
邮箱:544216003@qq.com
扫一扫 浏览网站
扫一扫 咨询沟通