CONTACT US
浙江定典自控阀门有限公司
电话:0577-67159885
手机:13605872654
联系人:凌工
邮箱:544216003@qq.com
地 址:浙江省温州市永嘉县瓯北街道浦一村张宅巷22号(后间)

详细介绍
执行机构
型式:LHA多弹簧式薄膜执行机构、LVA5单弹簧薄膜执行机构,LVA6单作用气缸活塞执行机构、LVP双作用气缸活塞执行机构 膜片材料:乙丙橡胶夹尼龙布、丁腈橡胶夹尼龙布 弹簧范围:40~200、80~240kPa(LHA、LVA5型),190~350、190~400kPa(LVA6型) 供气压力:280~400kPa(LHA型),280kPa(LVA5型),400~500kPa(LVA6型),300~500kPa(LVP型) 气源接口:Rc1/4” 环境温度:-30~+70℃ 阀作:用型式 用正作用或反作用执行机构实现阀的气-关式或气-开式 附件:定位器、空气过滤减压器、保位阀、行程开关、阀位传送器、电磁阀、手轮机构等
性能
泄漏量:金属阀座:小于阀额定容量的0.01%,符合ANSI B16.104IV级 回差:带定位器:小于全行程的1%, 基本误差:带定位器:小于全行程的±1%, (注:采用标准的V型聚四氟乙烯填料) 可调范围:50:1
Cv值和行程
|
公称通径
|
40
|
50
|
80
|
100
|
150
|
200
|
||||||||||||||
|
阀座直径
|
25
|
32
|
40
|
32
|
40
|
50
|
50
|
65
|
80
|
65
|
80
|
100
|
100
|
125
|
150
|
125
|
150
|
200
|
||
|
额定Cv值
|
等百分比特性
|
ANSI900、1500、JIS63K
|
12
|
17
|
25
|
17
|
25
|
52
|
52
|
78
|
110
|
78
|
110
|
180
|
180
|
270
|
375
|
270
|
375
|
650
|
|
ANSI 2500
|
-
|
12
|
17
|
12
|
17
|
31
|
31
|
52
|
78
|
52
|
78
|
125
|
125
|
180
|
270
|
180
|
270
|
470
|
||
|
线性特性
|
ANSI900、1500、JIS63K
|
12
|
20
|
30
|
20
|
30
|
62
|
62
|
90
|
135
|
90
|
135
|
210
|
210
|
330
|
485
|
330
|
485
|
700
|
|
|
ANSI 2500
|
-
|
12
|
20
|
12
|
20
|
43
|
43
|
62
|
90
|
62
|
90
|
150
|
150
|
210
|
330
|
210
|
330
|
520
|
||
|
额定行程(mm)
|
25
|
38
|
50
|
75
|
||||||||||||||||
流量特性
典型的流量特性曲线
|
|
||||||||||||||||||||||||||||||||||||||||||||||||||||||||||||||||||||||||||||||||||||||||||||||||||||||||||||||||||||||||||||||||||||||||||||||||||||||||||||||||||||||||||||||||||||||||||||||||||||||||||||||||||||||||||||||||||||||||||||||||||||||||||||||
|
|
||||||||||||||||||||||||||||||||||||||||||||||||||||||||||||||||||||||||||||||||||||||||||||||||||||||||||||||||||||||||||||||||||||||||||||||||||||||||||||||||||||||||||||||||||||||||||||||||||||||||||||||||||||||||||||||||
|
|
|||||||||||||||||||||||||||||||||||||||||
法兰距 mm
|
公称通径
|
A
|
||||||
|
JIS63K
|
ANSI 900
|
ANSI 1500
|
ANSI 2500
|
||||
|
RF
|
RF(SW,BW)
|
RJ
|
RF(SW,BW)
|
RJ
|
RF(SW,BW)
|
RJ
|
|
|
40
|
323
|
333
|
333
|
333
|
333
|
358
|
361
|
|
50
|
354
|
375
|
378
|
375
|
378
|
400
|
403
|
|
80
|
431
|
440
|
443
|
460
|
463
|
498
|
504
|
|
100
|
496
|
510
|
513
|
530
|
533
|
575
|
585
|
|
150
|
699
|
715
|
718
|
770
|
776
|
820
|
833
|
|
200
|
895
|
915
|
918
|
972
|
982
|
1020
|
1036
|

|
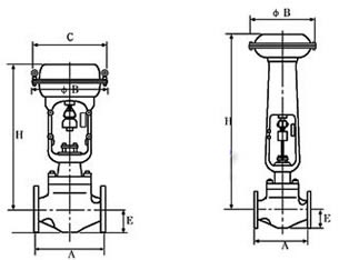
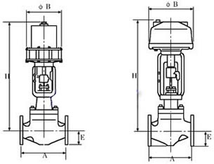
公称
通径 |
执行
机构 |
H
|
E
|
C
|
φB
|
|||||||
|
ANSI 900
JIS 63K |
ANSI 1500
|
ANSI 2500
|
ANSI 900
|
ANSI 1500
|
ANSI 2500
|
|||||||
|
常温型(P)
|
伸长型(E1)
|
常温型(P)
|
伸长型(E1)
|
常温型(P)
|
伸长型(E1)
|
|||||||
|
40
|
LHA3D、R
|
735
|
875
|
735
|
875
|
780
|
925
|
100
|
105
|
120
|
363
|
350
|
|
LHA4D、R
|
890
|
1030
|
890
|
1030
|
935
|
1080
|
520
|
470
|
||||
|
50
|
LHA3D、R
|
765
|
925
|
765
|
925
|
800
|
960
|
110
|
120
|
130
|
363
|
350
|
|
LHA4D、R
|
925
|
1085
|
925
|
1085
|
960
|
1120
|
520
|
470
|
||||
|
80
|
LHA3D、R
|
800
|
980
|
800
|
980
|
835
|
1005
|
140
|
150
|
165
|
363
|
350
|
|
LHA4D、R
|
960
|
1140
|
960
|
1140
|
995
|
1165
|
520
|
470
|
||||
|
100
|
LHA3D、R
|
835
|
1015
|
835
|
1015
|
880
|
1050
|
160
|
170
|
195
|
363
|
350
|
|
LHA4D、R
|
995
|
1175
|
995
|
1175
|
1040
|
1210
|
520
|
470
|
||||
|
LVA5D
|
1380
|
1560
|
1380
|
1560
|
1425
|
1595
|
|
620
|
||||
|
LVA5R
|
1490
|
1670
|
1490
|
1670
|
1535
|
1705
|
|
620
|
||||
|
LVA6R
|
1229
|
1409
|
1229
|
1409
|
1274
|
1444
|
|
445
|
||||
|
150
|
LHA3D、R
|
895
|
1075
|
895
|
1075
|
935
|
1110
|
210
|
225
|
260
|
363
|
360
|
|
LHA4D、R
|
1055
|
1235
|
1055
|
1235
|
1095
|
1270
|
520
|
470
|
||||
|
LVA5D
|
1440
|
1620
|
1440
|
1620
|
1480
|
1655
|
|
620
|
||||
|
LVA5R
|
1550
|
1730
|
1550
|
1730
|
1590
|
1765
|
|
620
|
||||
|
LVA6R
|
1300
|
1480
|
1300
|
1480
|
1340
|
1515
|
|
445
|
||||
|
LVP5
|
1080
|
1260
|
1080
|
1260
|
1120
|
1295
|
|
345
|
||||
|
200
|
LHA4D、R
|
1155
|
1395
|
1155
|
1395
|
1185
|
1370
|
280
|
290
|
330
|
520
|
470
|
|
LVA5D
|
1545
|
1785
|
1545
|
1785
|
1575
|
1760
|
|
620
|
||||
|
LVA6R
|
1655
|
1895
|
1655
|
1895
|
1685
|
1870
|
|
620
|
||||
|
LVP6
|
1395
|
1635
|
1395
|
1635
|
1425
|
1610
|
|
445
|
||||
|
公称通径 |
执行机构 |
法兰连接
|
焊接连接
|
||||||||||
|
ANSI900 JIS63K
|
ANSI1500
|
ANSI2500
|
ANSI900JIS63K
|
ANSI1500
|
ANSI2500
|
||||||||
|
常温型
(P) |
伸长型
(E1) |
常温型
(P) |
伸长型
(E1) |
常温型
(P) |
伸长型
(E1) |
常温型
(P) |
伸长型
(E1) |
常温型
(P) |
伸长型
(E1) |
常温型
(P) |
伸长型
(E1) |
||
|
40
|
LHA3D、R
|
60(55)
|
65(60)
|
65
|
70
|
90
|
95
|
50
|
55
|
55
|
60
|
75
|
80
|
|
LHA4D、R
|
90(85)
|
95(90)
|
95
|
100
|
125
|
130
|
80
|
85
|
85
|
90
|
105
|
110
|
|
|
50
|
LHA3D、R
|
70(65)
|
80(75)
|
75
|
85
|
110
|
120
|
55
|
65
|
60
|
70
|
85
|
95
|
|
LHA4D、R
|
100(95)
|
110(105)
|
150
|
115
|
140
|
150
|
85
|
95
|
90
|
100
|
115
|
125
|
|
|
80
|
LHA3D、R
|
105(100)
|
115(105)
|
140
|
160
|
225
|
245
|
85
|
95
|
110
|
130
|
170
|
190
|
|
LHA4D、R
|
135(100)
|
145(140)
|
170
|
190
|
255
|
275
|
115
|
125
|
140
|
160
|
200
|
220
|
|
|
100
|
LHA3D、R
|
135(125)
|
160(150)
|
195
|
225
|
315
|
345
|
105
|
130
|
155
|
185
|
230
|
260
|
|
LHA4D、R
|
165(155)
|
190(180)
|
225
|
255
|
345
|
375
|
135
|
160
|
185
|
215
|
260
|
290
|
|
|
LHA5D
|
265(255)
|
290(280)
|
325
|
355
|
445
|
475
|
235
|
260
|
285
|
315
|
360
|
390
|
|
|
LHA5R
|
290(280)
|
315(305)
|
350
|
380
|
470
|
500
|
260
|
285
|
310
|
340
|
385
|
415
|
|
|
LHA6R
|
305(905)
|
330(320)
|
365
|
395
|
485
|
515
|
275
|
300
|
325
|
355
|
400
|
430
|
|
|
150
|
LHA3D、R
|
345(330)
|
380(365)
|
525
|
570
|
875
|
915
|
285
|
320
|
435
|
480
|
660
|
700
|
|
LHA4D、R
|
395(360)
|
410(395)
|
555
|
600
|
905
|
945
|
315
|
350
|
465
|
510
|
690
|
730
|
|
|
LHA5D
|
475(460)
|
510(495)
|
655
|
700
|
1005
|
1045
|
415
|
450
|
565
|
610
|
790
|
830
|
|
|
LHA5R
|
500(485)
|
535(520)
|
680
|
725
|
1030
|
1070
|
440
|
470
|
590
|
635
|
815
|
855
|
|
|
LHA6R
|
515(500)
|
550(535)
|
695
|
740
|
1045
|
1085
|
455
|
490
|
605
|
650
|
830
|
870
|
|
|
LHA6
|
390(375)
|
425(410)
|
570
|
615
|
920
|
960
|
330
|
395
|
480
|
525
|
705
|
745
|
|
|
200
|
LHA4D、R
|
633(598)
|
678(643)
|
1065
|
1115
|
1500
|
1545
|
535
|
580
|
910
|
958
|
1193
|
1240
|
|
LHA5D
|
753(700)
|
780(745)
|
1165
|
1215
|
1600
|
1645
|
635
|
680
|
1010
|
1060
|
1295
|
1340
|
|
|
LHA5R
|
760(725)
|
805(770)
|
1190
|
1240
|
1625
|
1670
|
660
|
705
|
1035
|
1085
|
1320
|
1365
|
|
|
LHA5
|
725(690)
|
770(735)
|
1155
|
1025
|
1590
|
1635
|
625
|
670
|
1000
|
1050
|
1285
|
1330
|
|
浙江定典自控阀门有限公司
地址:浙江省温州市永嘉县瓯北街道浦一村张宅巷22号(后间)
电话:0577-67159885
手机:13605872654(凌工) 18958788552(张工)
邮箱:544216003@qq.com
扫一扫 浏览网站
扫一扫 咨询沟通